北京市凌鷹起重機械廠
地址:北京市昌平區東小口
二十四小時手機:18611422091(同微信)
傳真: 010-58043523
抖音:lyqz18611422091
掃一掃加微信好友




很多車輛會在暴雨來臨時會被淹,導致發動機損壞。北京凌鷹介紹一種車用環鏈電動葫蘆防護系統,這種系統不僅可以在車輛被洪水侵襲前展開使用,即便是在洪水已經淹到車輛底盤時它也能夠及時展開使用,避免車輛發動機等被雨水浸淹而導致損壞;該防護系統還具有防泥石流功能。
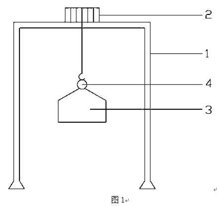
這種環鏈電動葫蘆防護系統包括支架1、環鏈電動葫蘆2、車輛承載體3。環鏈電動葫蘆2安裝在支架1上,車輛承載體3懸掛在環鏈電動葫蘆2上。車輛承載體3是用來承載車輛的。
車用環鏈電動葫蘆防護系統工作原理:
1、防洪水功能。車用多功能環鏈電動葫蘆防護系統的支架可折疊存放在車輛后車箱,方便攜帶外出旅途中使用。當本車輛遇上洪水或暴雨,在雨水淹到車輛發動機、電路系統之前,駕駛員可從后車廂拿出本發明防護系統,先把支架1展開,環鏈電動葫蘆2安裝在支架1上;將車輛承載體3套住車輛,車輛承載體3懸掛在環鏈電動葫蘆2的掛鉤上,環鏈電動葫蘆2連接車用蓄電池或其它電源啟動開關把車輛抬升到高處,從而避免車輛被雨水浸泡而導致損壞。
2、防泥石流功能:車用環鏈電動葫蘆防護系統應用活動支架作支撐,當人們把支架固定并將車輛抬升到高處后,泥石流可以從支架流過,避免車輛遭受侵襲。
車用環鏈電動葫蘆防護系統的優點:
1、具有防洪水功能,方便車輛攜帶使用。
2、具有防泥石流功能;
3、具有娛樂玩具功能。本發明防護系統平時可以作為娛樂玩具使用,車輛停在家門口或者到郊外旅游時,可將本發明支架1展開,將車輛承載體掛在環鏈電動葫蘆的掛鉤上作為蕩秋千娛樂玩具;
4、結構簡單,造價成本低。
備注:圖1中各部位名稱,1支架、2環鏈電動葫蘆、3車輛承載體、4吊環。

上一條:凌鷹技術分析電動葫蘆制動停機下滑原因
下一條:分析環鏈電動葫蘆的“不足”與“革新