北京市凌鷹起重機械廠
地址:北京市昌平區東小口
二十四小時手機:18611422091(同微信)
傳真: 010-58043523
抖音:lyqz18611422091
掃一掃加微信好友




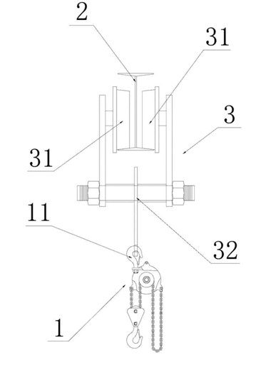
手拉葫蘆又稱“環鏈葫蘆”或“倒鏈”,適用于小型設備和貨物的短距離吊運,起重量一般不超過100T。手拉葫蘆使用時需要先把上吊鉤固定在上方支架處,才能使用它進行起吊重物的工作,因而被吊重物必須先移動至支架下方,才能實施起吊,其安裝使用具有空間局限性。在一些生產領域中,有很多小型設備需要經常拆裝移動,而人工移動又不方便,手拉葫蘆能方便提起設備,但不能移動設備。北京凌鷹為大家介紹一種移動式手拉葫蘆,解決以上問題。
移動式手拉葫蘆包括手拉葫蘆本體1、導軌2和滑行小車3;所述滑行小車3包括卡裝于導軌2內的滾輪31和與滾輪31的輪架固定連接的安裝支架32,所述安裝支架32位于導軌2的下方;手拉葫蘆本體1的上吊鉤11安裝在安裝支架32的下端。其中,所述導軌2為工字鋼;所述滑行小車3設有偶數個滾輪31,所說滾輪31呈兩列式排列,兩列滾輪31分別卡裝在工字鋼的兩側部。所述滑行小車3還設有推拉把手或手拉鏈。使用狀態:導軌2固定安裝在天花板,根據實際需要,導軌可以是直的,也可以是彎曲延伸的;除了可選用常見的工字鋼外,還可以選用其他形狀的導軌。滑行小車3的滾輪31數量也可以只設一個,只需能穩固地安裝到導軌2內,工作時不掉落即可。
這種方式可以完美的實現手拉葫蘆的運行,滿足設備移動的使用需求,能廣泛應用于了不大,移動空間有限的場所。

上一條:知識百科:低凈空鋼絲繩電動葫蘆
下一條:凌鷹詳解如何實現電動葫蘆限位報警裝置